🚚 Transport GRATUIT la comenzi peste 1.000 RON

Ventilator aspirator de fum BVN BPA 210-2

BVN
816,00 Lei
 260415
 260415
BVN BPA 210-2 Extractor de fum - Aspirator - FERGAS 260415
Debit maxim: 580 m3/h
Număr de rotații: până la 2500 RPM
Putere: 125 wați
Ventilator: diametru 210 mm
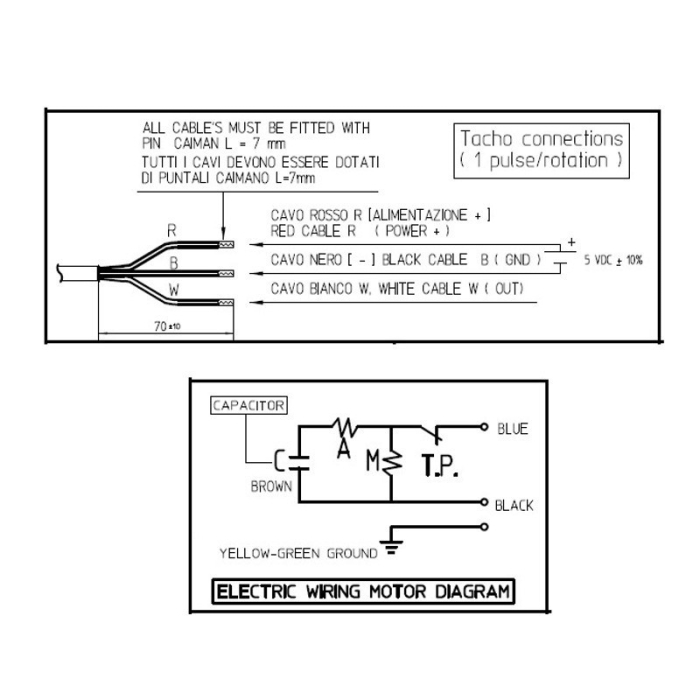
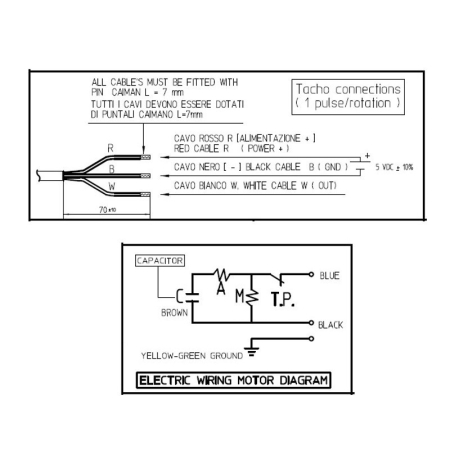
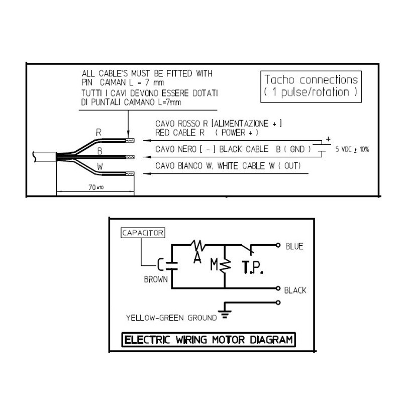
Echipat cu senzor cu efect Hall.
In stoc

Durata de livrare: 1-3 zile lucratoare

Limita stoc
Adauga in cos
Cod Produs: 14706162 Ai nevoie de ajutor? 0770999995
Adauga la Favorite Cere informatii
  • Descriere
  • Caracteristici
  • Review-uri (0)
Extractor, aspirator de fum BVN BPA 210-2 - FERGAS VFM 210/45 RE C cod. 260415 conceput pentru utilizare în sobe pe peleți și cazane pe biomasă.
Echipat cu rotor din oțel AISI 430.
Proiectat pentru un debit maxim de 580 m3/h.
Echipat cu senzor cu efect Hall (encoder).
 
Informatii conformitate produs

Tip produs: Piesa

Daca doresti sa iti exprimi parerea despre acest produs poti adauga un review.

Review-ul a fost trimis cu succes.

Suport clienti Luni-Vineri 08.30-17.00 Sambata Inchis Duminica Inchs

0770999995 comenzi@expertinstalatii.ro

Compara produse

Trebuie sa mai adaugi cel putin un produs pentru a compara produse.

A fost adaugat la favorite!

A fost sters din favorite!